About Us
Find Parts
Yamaha
BA50C
2006 (4KNN-010-B-2006)
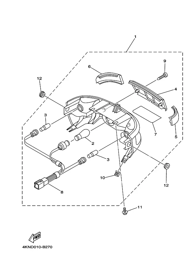
Air Shroud & Fan
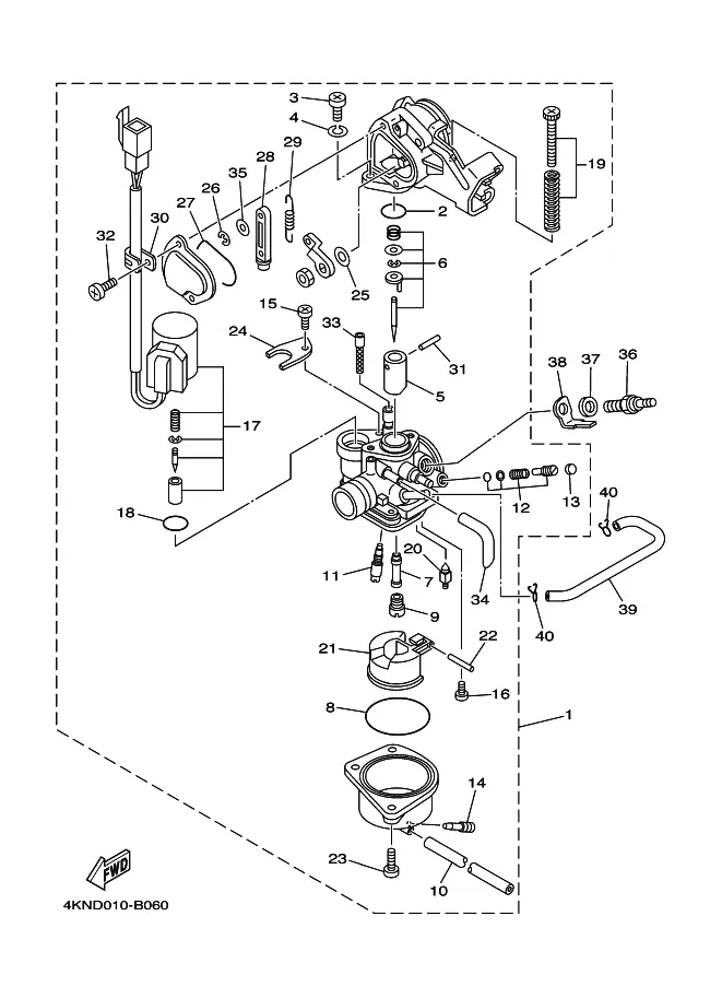
Carburetor
Clutch
Crankcase
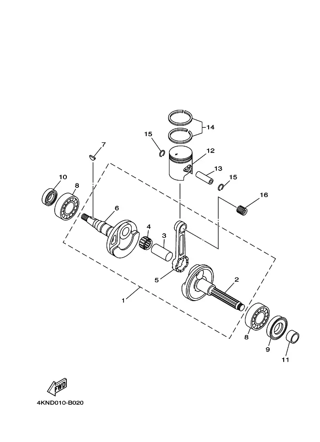
Crankshaft & Piston
Cylinder
Electrical 1
Electrical 2
Exhaust
Fender
Flashlight
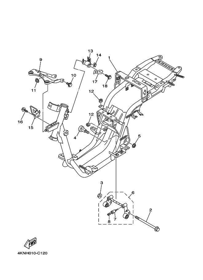
Frame
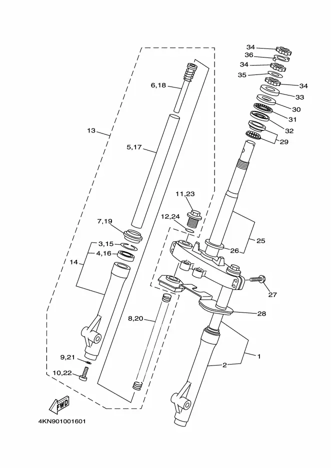
Front Fork
Front Wheel
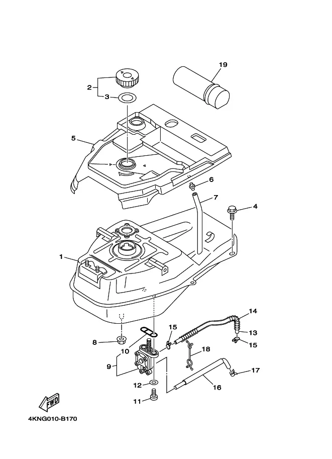
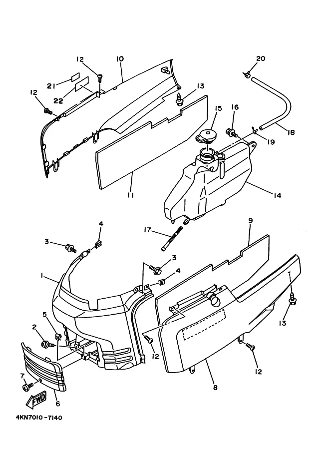
Fuel Tank
Generator
Graphic & Emblem
Handle Switch & Lever & Cable
Intake
Leg Shield
Meter
Oil Pump
Rear Suspension
Rear Wheel
Seat
Sidecar Bar
Stand & Footrest
Starter
Steering Handle
Taillight
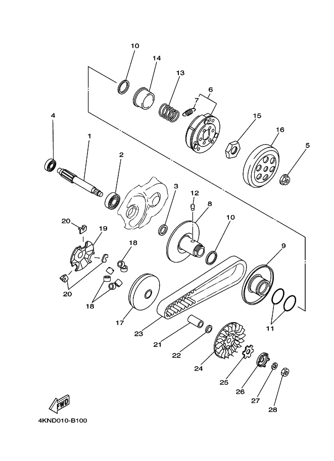
Transmission
Privacy Policy
Copyright | Part Seeker
Made with
U do