About Us
Find Parts
Yamaha
CE50
2013 (3P39-010-B-2013)
Clutch
Cowling 1
Crankcase
Crankshaft & Piston
Cylinder Head
Electrical 1
Electrical 2
Exhaust
Fender
Flashlight
Frame
Front Fork
Front Wheel
Fuel Tank
Generator
Handle Switch & Lever
Headlight
Intake
Leg Shield
Meter
Oil Pump
Radiator & Hose
Rear Arm
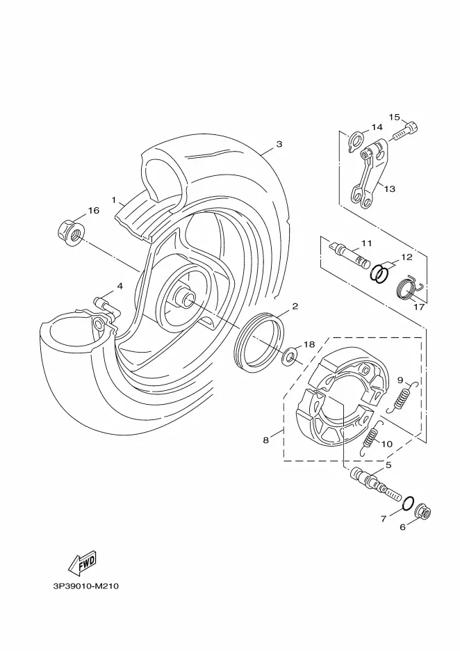
Rear Wheel
Seat
Sidecar Bar
Stand & Footrest
Starter
Starting Motor
Steering Handle & Cable
Taillight
Transmission
Valve
Water Pump
Privacy Policy
Copyright | Part Seeker
Made with
U do