About Us
Find Parts
Yamaha
CG80Z
1988 (2XX1-010-A-1988)
Air Shroud . Fan
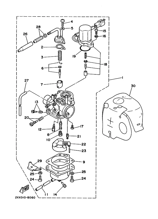
Carburetor
Clutch
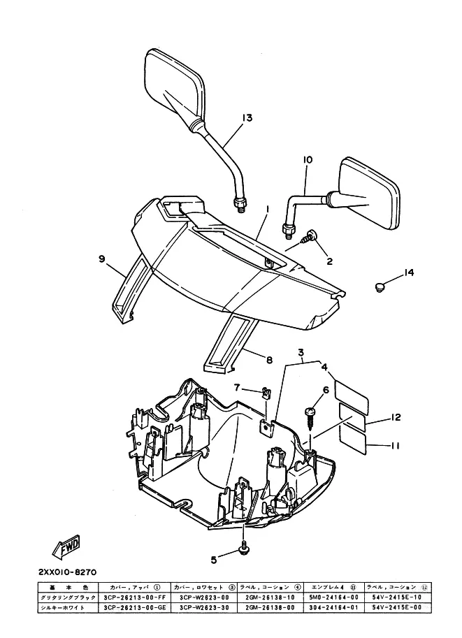
Cowling 1
Crankcase
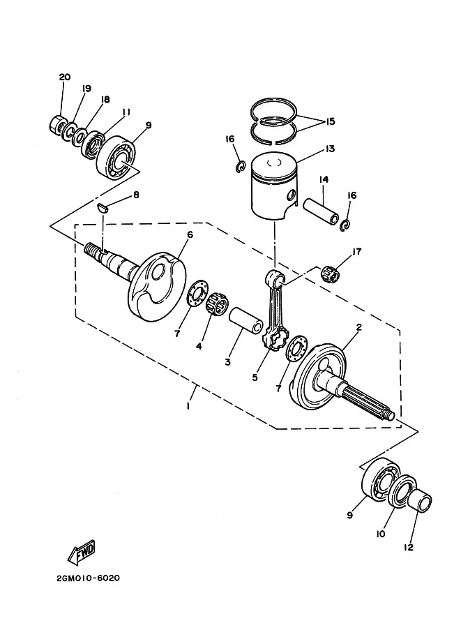
Crankshaft . Piston
Cylinder
Electrical 1
Electrical 2
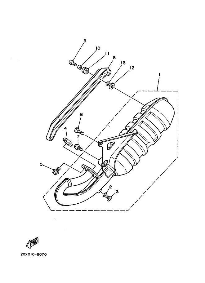
Exhaust
Fender
Flashlight
Frame
Front Brake Caliper
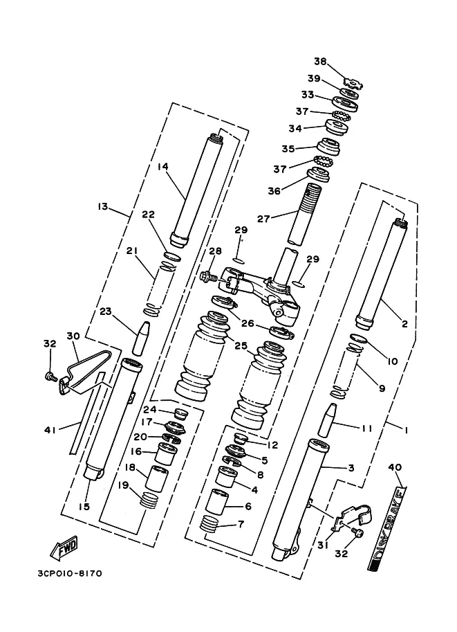
Front Fork
Front Master Cylinder
Front Wheel
Fuel Tank
Generator
Handle Switch . Lever
Headlight
Intake
Leg Shield
Meter
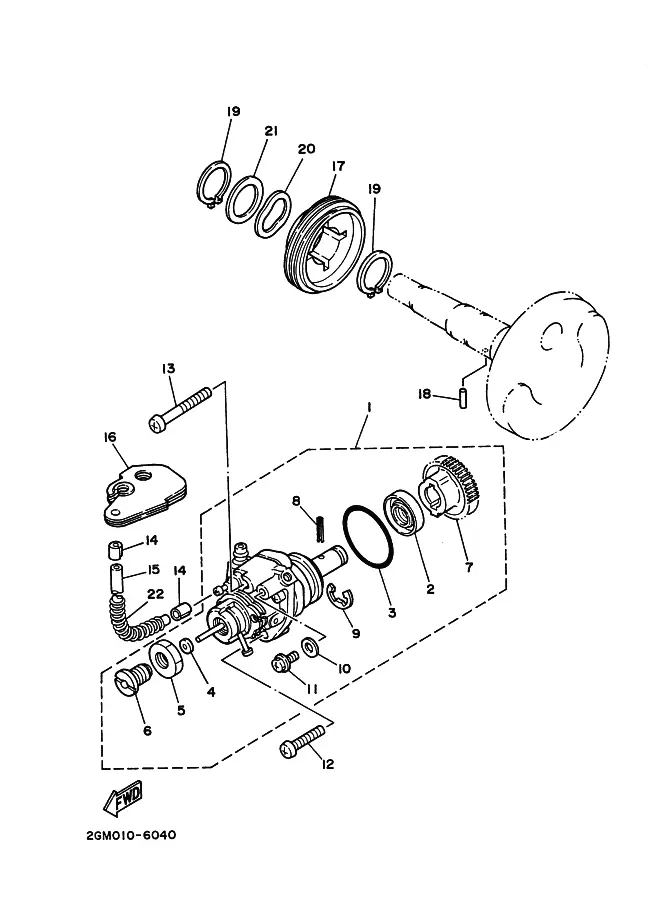
Oil Pump
Oil Tank
Rear Suspension
Rear Wheel
Seat
Sidecar Bar
Stand . Footrest
Starter
Steering Handle . Cable
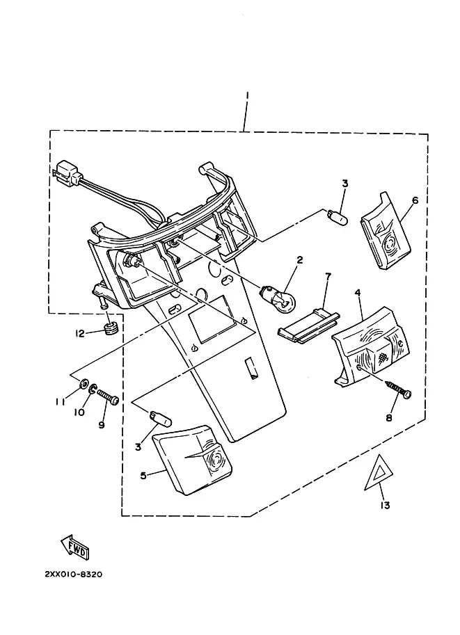
Taillight
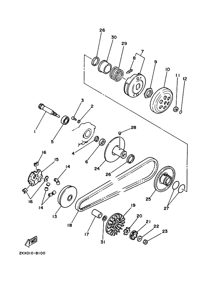
Transmission
Privacy Policy
Copyright | Part Seeker
Made with
U do