About Us
Find Parts
Yamaha
CH50EE
1983 (37T0-010-B-1983)
Air Shroud . Fan
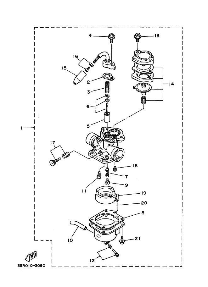
Carburetor
Clutch
Cowling 1
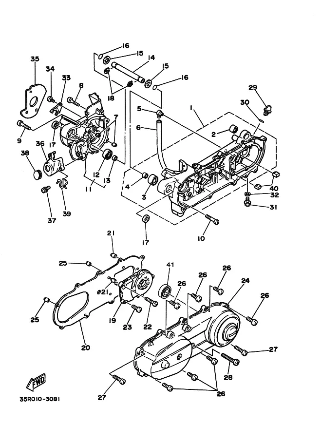
Crankcase
Crankshaft . Piston
Cylinder
Electrical 1
Electrical 2
Exhaust
Fender
Flashlight
Frame
Front Wheel
Fuel Tank
Generator
Handle Switch . Lever
Headlight
Intake
Leg Shield
Meter
Oil Pump
Oil Tank
Rear Suspension
Rear Wheel
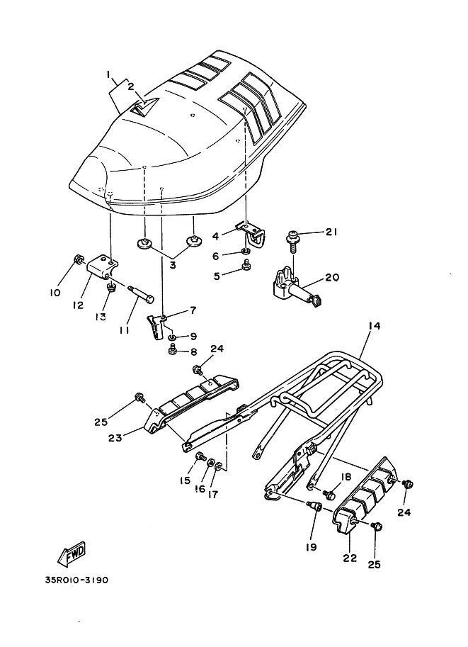
Seat
Sidecar Bar
Stand . Footrest
Starter
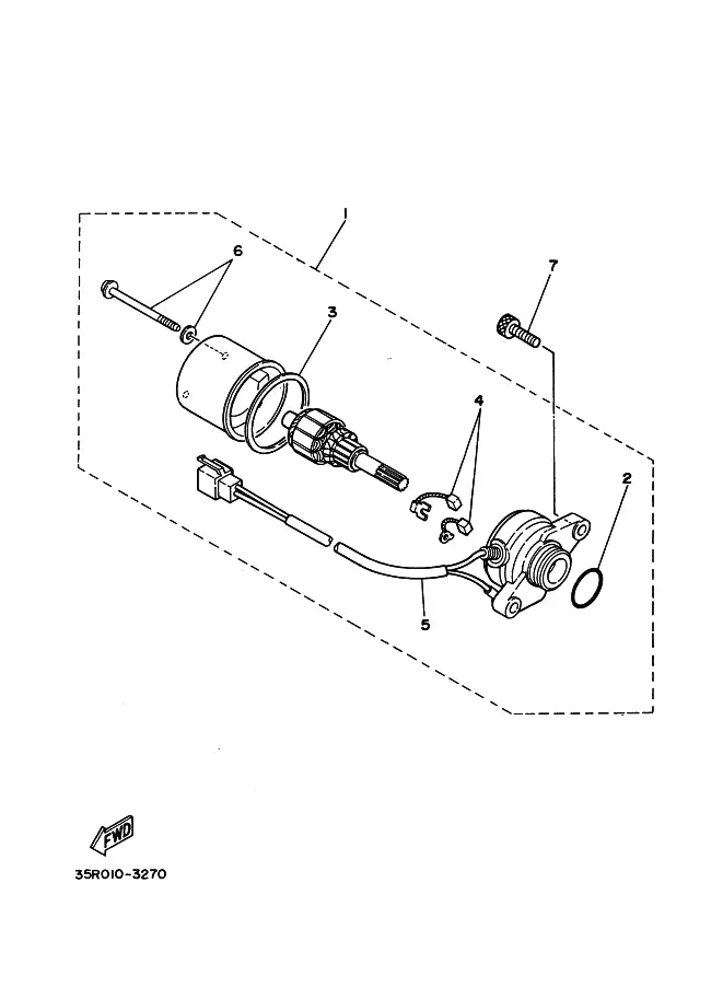
Starting Motor
Steering
Steering Handle . Cable
Taillight
Transmission
オ Lee ジナル Parts 1
オ Lee ジナル Parts 2
Privacy Policy
Copyright | Part Seeker
Made with
U do