About Us
Find Parts
Yamaha
CJ50EM
1986 (2FX0-010-B-1986)
Air Shroud . Fan
Carburetor
Clutch
Cowling 1-1
Cowling 1-2
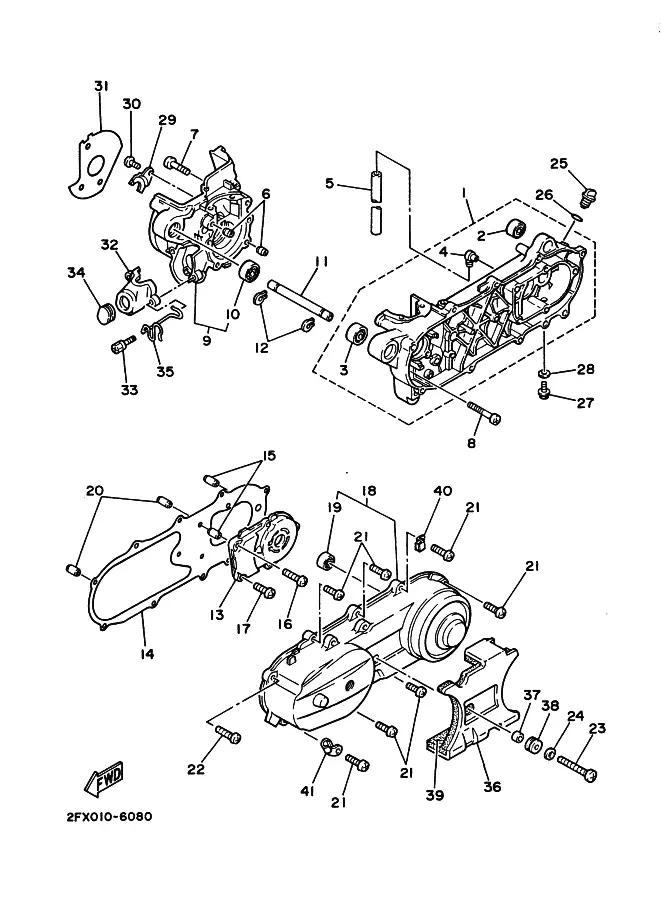
Crankcase
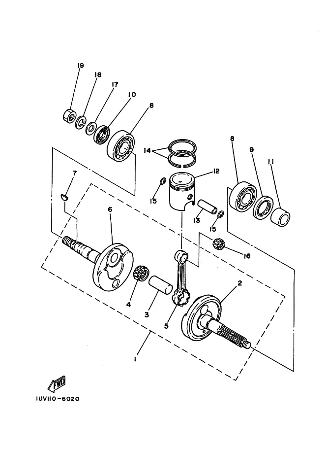
Crankshaft . Piston
Cylinder
Electrical 1
Electrical 2
Exhaust
Fender 1 CJ50EM For
Fender 2 CJ50ES For
Flashlight
Frame
Front Fork
Front Wheel
Fuel Tank
Generator
Handle Switch . Lever
Headlight 1
Headlight 2
Intake
Leg Shield
Meter
Oil Pump
Oil Tank
Rear Suspension
Rear Wheel
Seat . Carrier
Sidecar Bar 1
Sidecar Bar 2
Stand . Footrest
Starter
Steering Handle . Cable 1
Steering Handle . Cable 2
Taillight
Transmission
Privacy Policy
Copyright | Part Seeker
Made with
U do