About Us
Find Parts
Yamaha
EA06A
2006 (5UY6-010-A-2006)
Cover
Electrical 1
Electrical 2
Emblem & Label 1
Fender
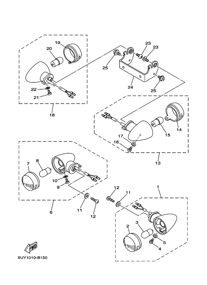
Flashlight
Frame
Front Fork
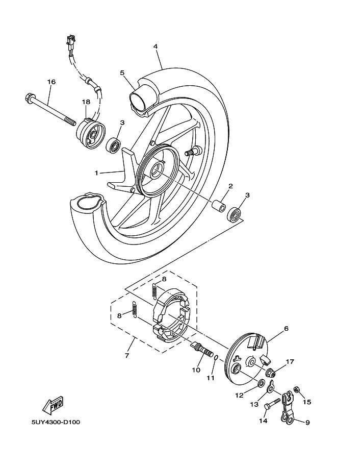
Front Wheel
Generator
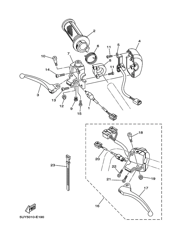
Handle Switch & Lever
Headlight
Meter
Rear Arm
Rear Arm & Suspension
Rear Wheel
Seat & Carrier
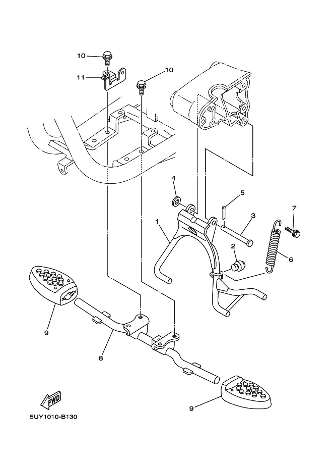
Stand & Footrest
Steering
Steering Handle & Cable
Taillight
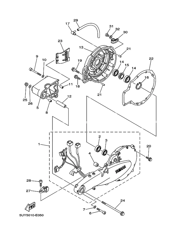
Transmission
Privacy Policy
Copyright | Part Seeker
Made with
U do