About Us
Find Parts
Kawasaki
ELIMINATOR 250
1989 (EL250-B3)
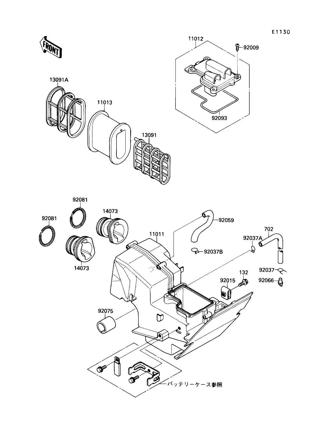
Air Cleaner
Battery Case
Body Electrical Parts
Brake Pedal
Cable
Camshaft/Tensioner
Carburetor
Carburetor Parts
Clutch
Crankcase
Crankcase Bolt Pattern
Crankshaft
Cylinder Head
Cylinder Head Cover
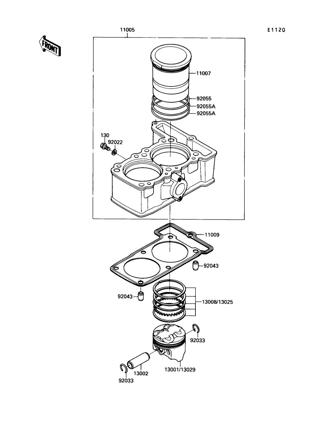
Cylinder/Piston
Decal (Ebony)
Decal (Ebony/Gray)
Decal (Green/White)
Engine Cover
Fender
Footrest
Frame
Frame Fitting
Front Brake
Front Fork
Front Hub
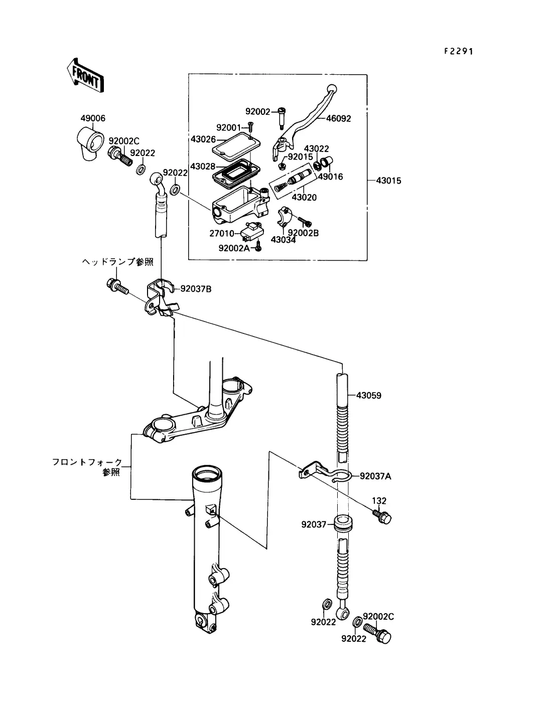
Front Master Cylinder
Fuel Tank
Gear Change Drum/Shift Fork
Gear Change Mechanism
Generator
Handlebar
Headlight
Ignition Switch
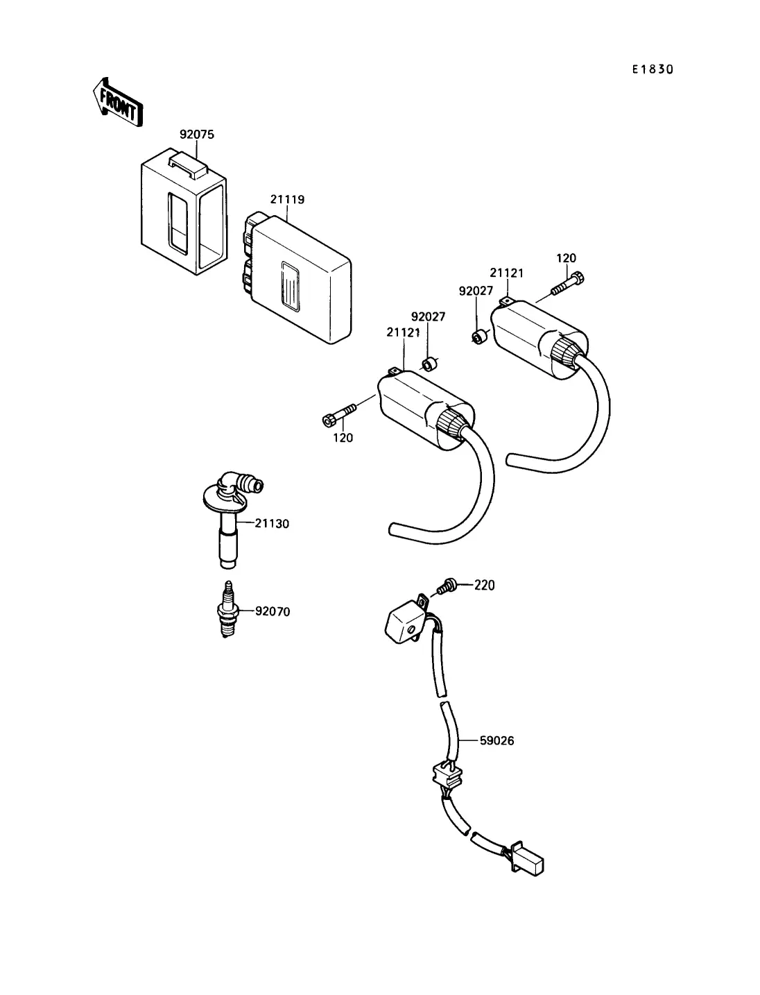
Ignition System
Label
Meter
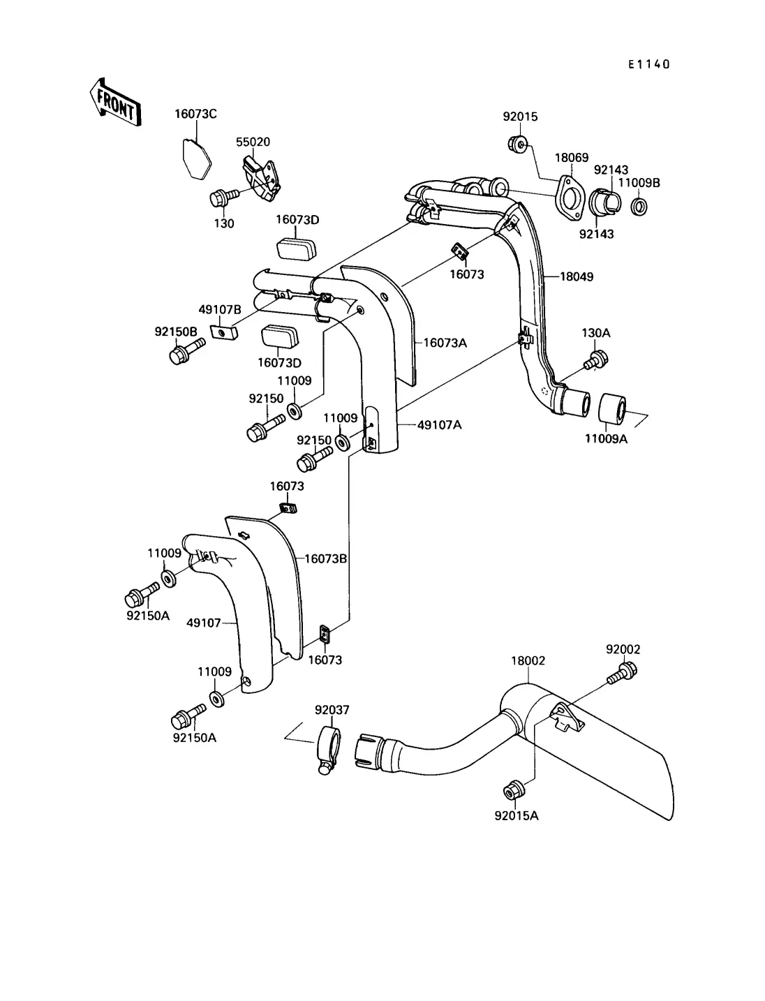
Muffler
Oil Pump
Optional Parts
Radiator
Rear Hub
Seat
Side Cover/Chain Cover
Stand
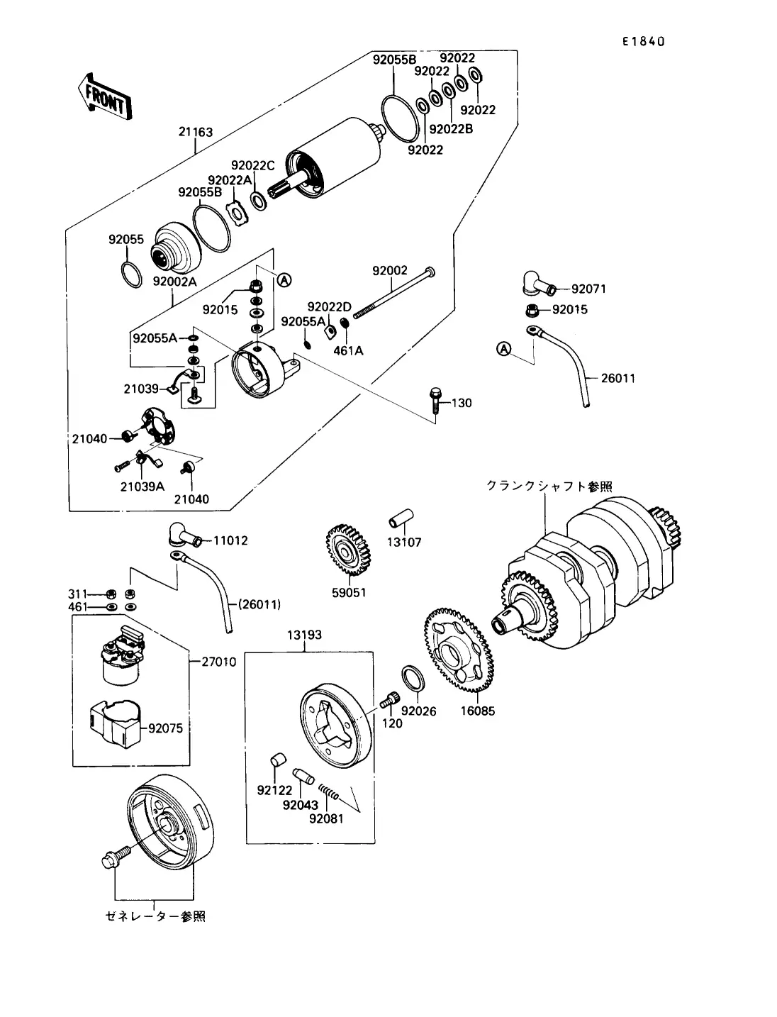
Starter Motor
Suspension/Shock Absorber
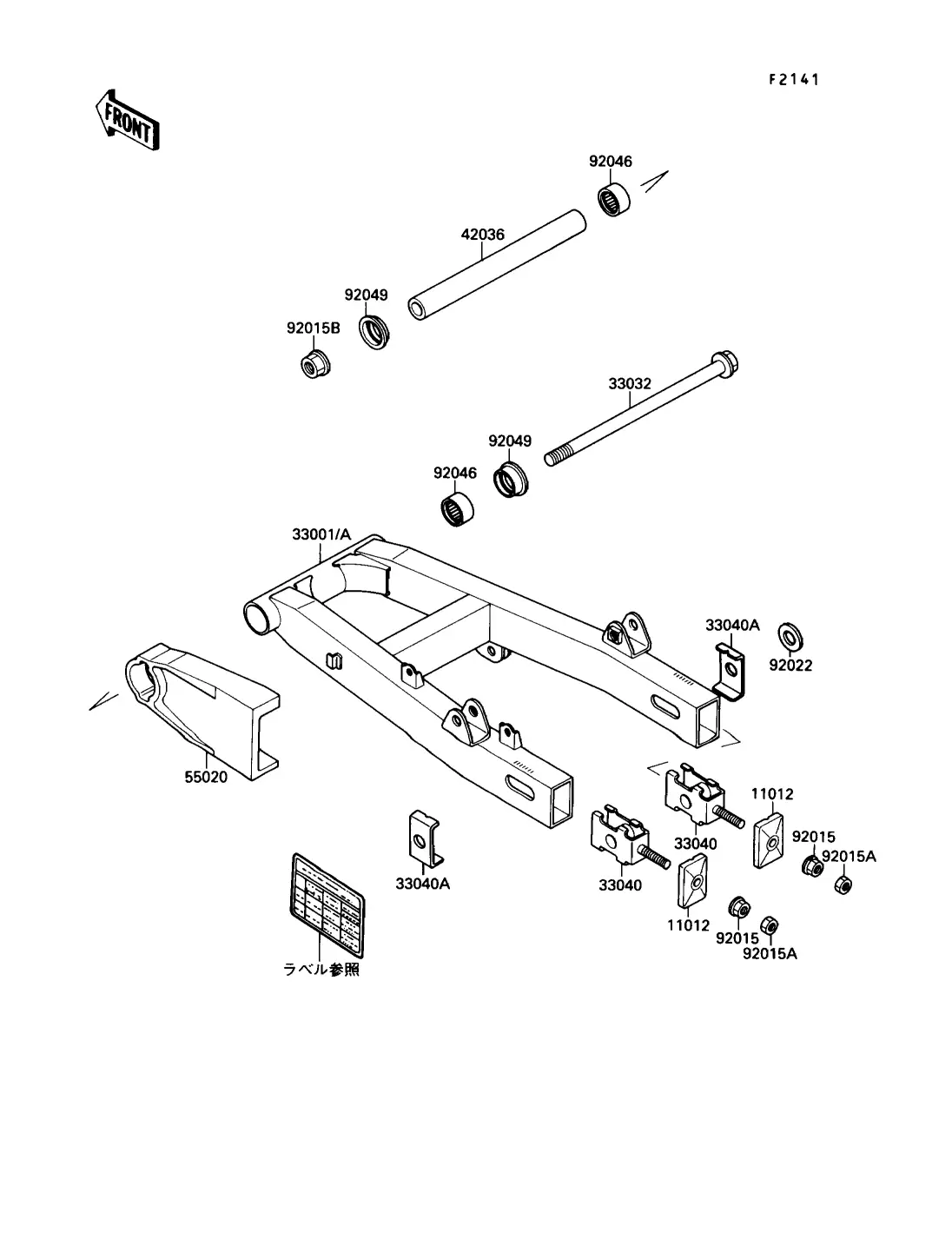
Swing Arm
Taillight
Tire
Transmission
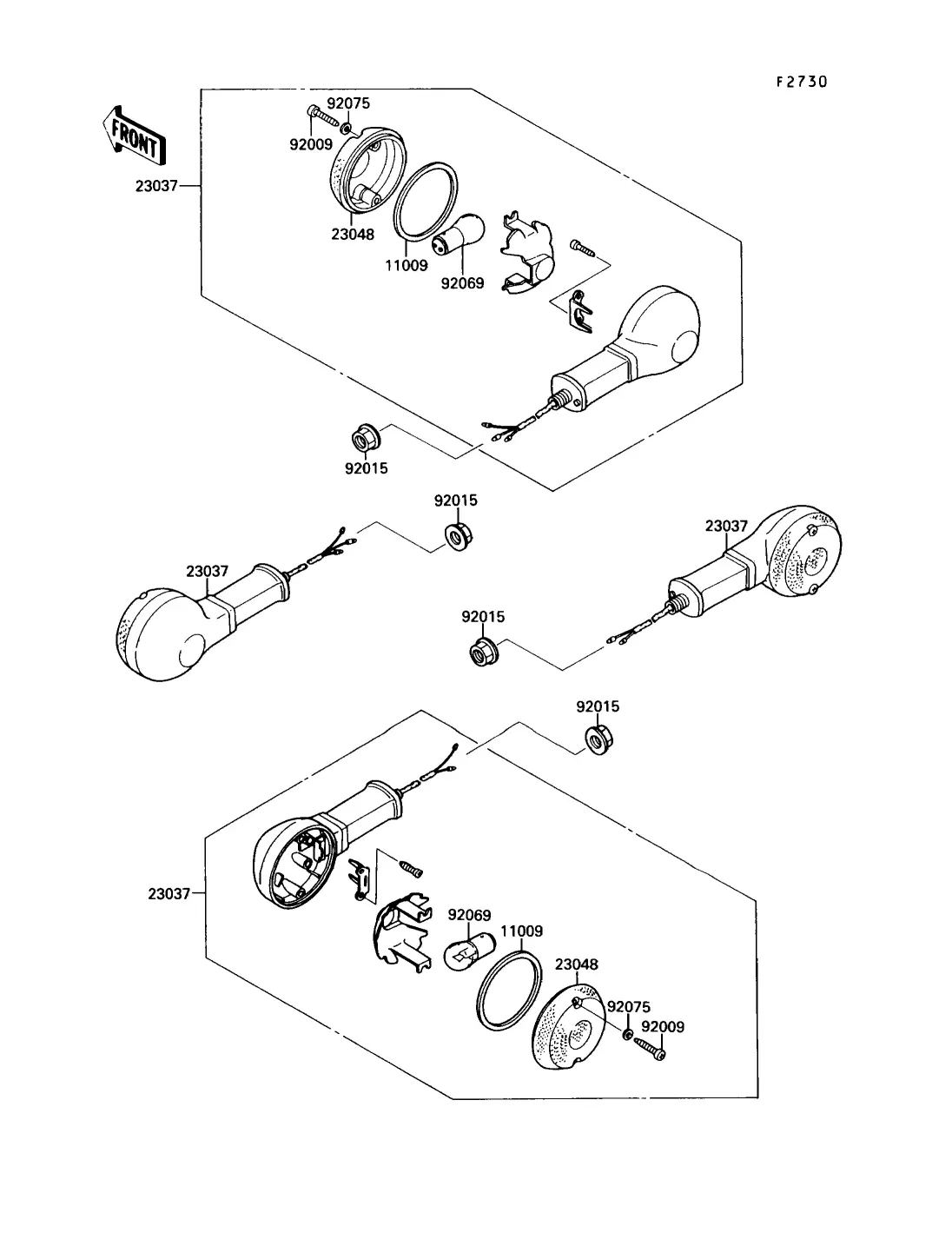
Turn Signal
Valve
オーナーズ Tool
Privacy Policy
Copyright | Part Seeker
Made with
U do