About Us
Find Parts
Yamaha
FZ250
1985 (1HX0-010-C-1985)
Camshaft . Chain
Carburetor
Clutch
Cowling 1
Crankcase
Crankcase Cover 1
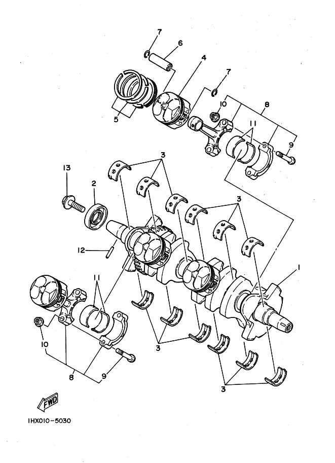
Crankshaft . Piston
Cylinder
Cylinder Head
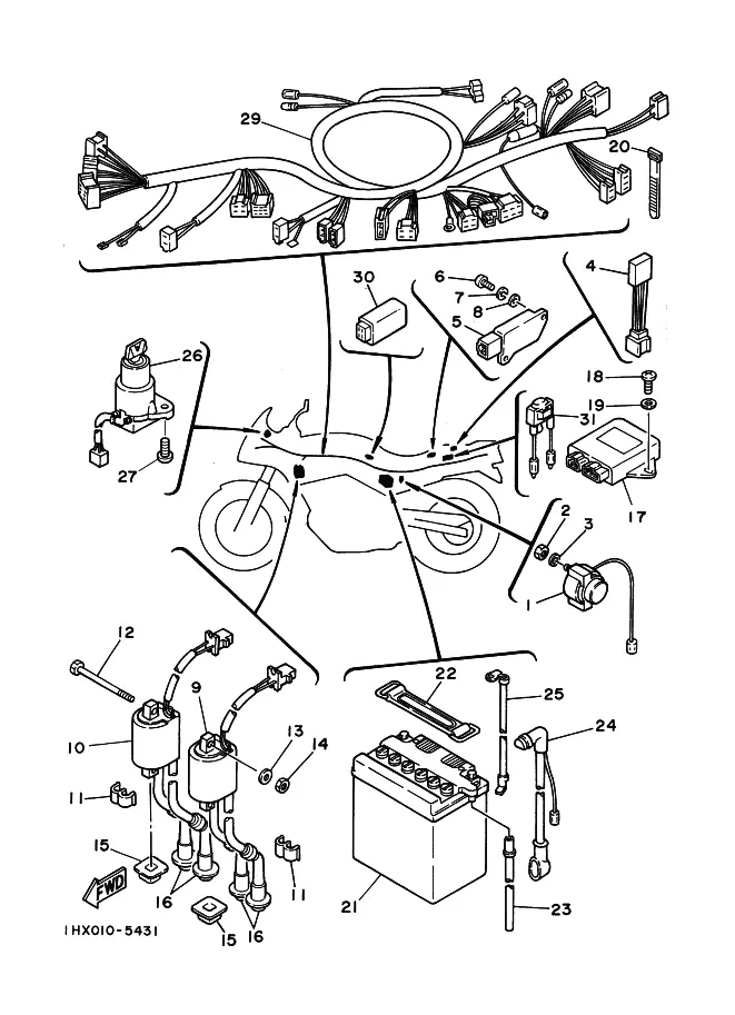
Electrical 1
Electrical 2
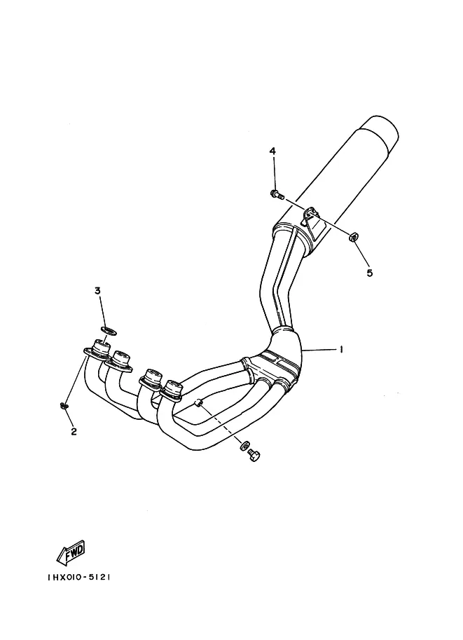
Exhaust
Fender
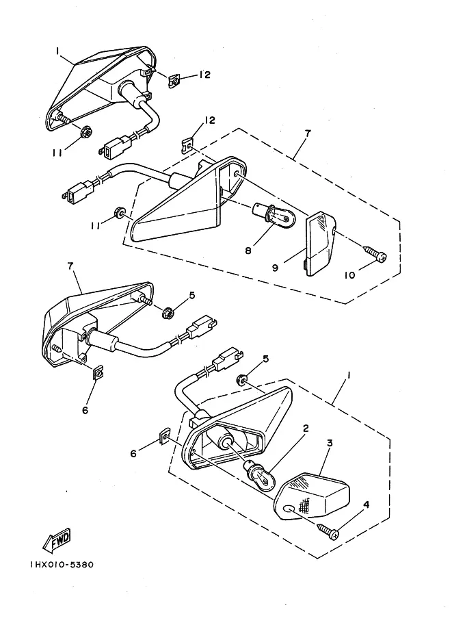
Flashlight
Frame
Front Brake Caliper
Front Fork
Front Master Cylinder
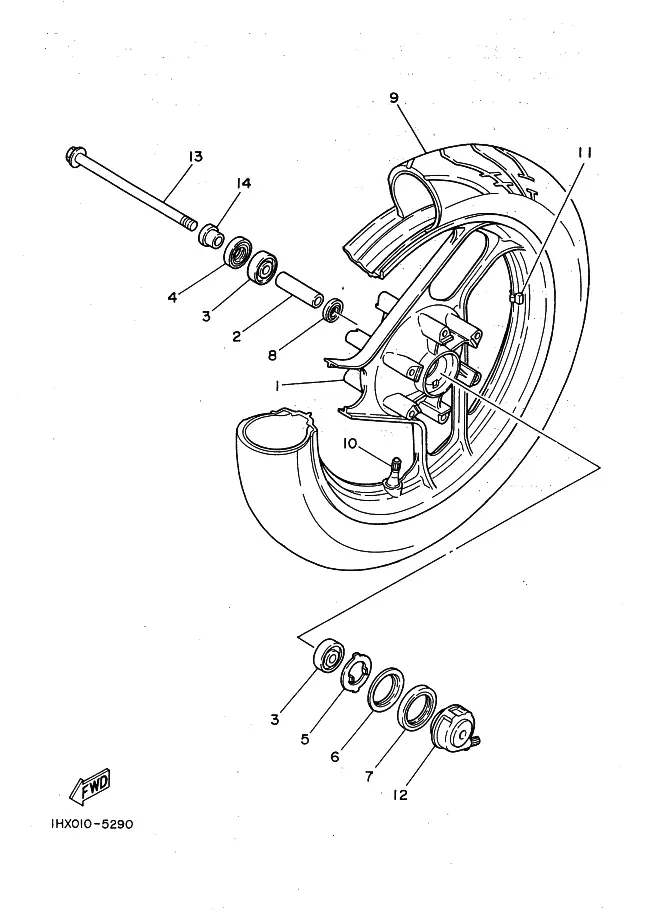
Front Wheel
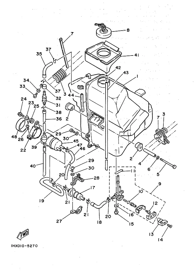
Fuel Tank
Generator
Handle Switch . Lever
Headlight
Intake
Meter
Oil Cleaner
Oil Pump
Radiator . Hose
Rear Arm
Rear Suspension
Rear Wheel
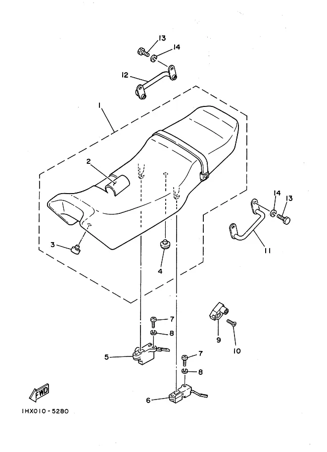
Seat
Shift Cam . Fork
Shift Shaft
Sidecar Bar
Stand . Footrest
Starter Clutch
Starting Motor
Steering
Steering Handle . Cable
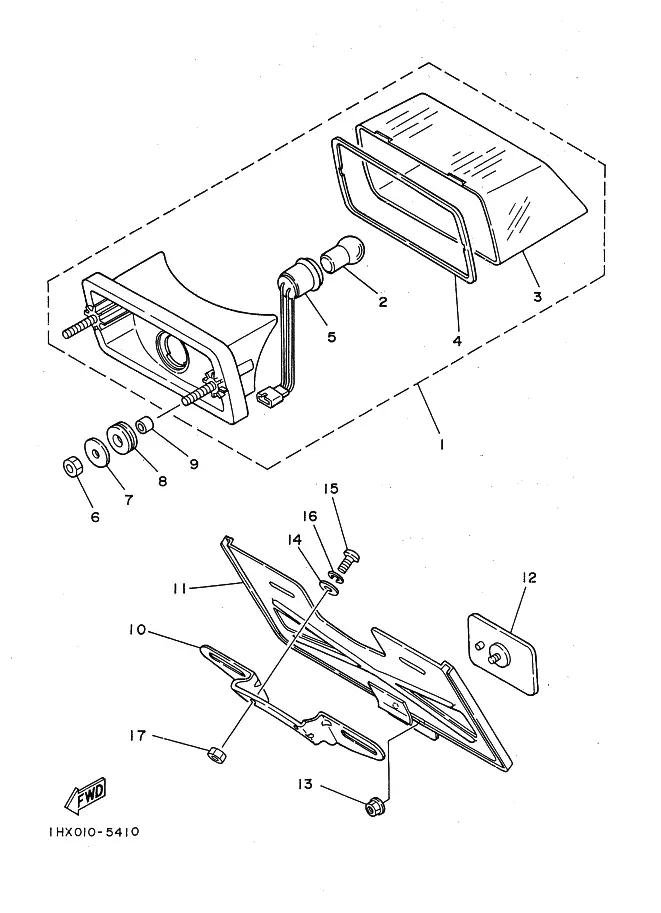
Taillight
Transmission
Valve
Water Pump . Piping
Privacy Policy
Copyright | Part Seeker
Made with
U do