About Us
Find Parts
Yamaha
MWS125-C
2023 (BCS3-010-D-2023)
Camshaft & Chain
Clutch
Crankcase
Crankcase Cover 1
Crankshaft & Piston
Cylinder Head
Electrical 1
Electrical 2
Exhaust
Fender
Flashlight
Frame
Front Brake Caliper
Front Fork
Front Master Cylinder
Front Wheel
Fuel Tank
Generator
Graphic & Emblem
Handle Switch & Lever
Headlight
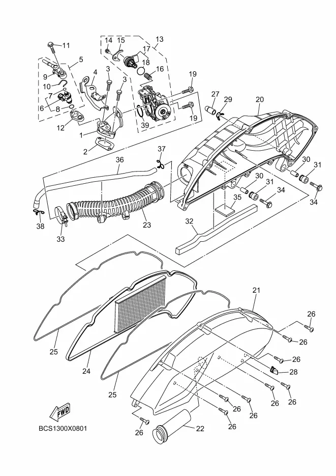
Intake
Leg Shield
Meter
Oil Pump
Radiator & Hose
Rear Arm & Suspension
Rear Brake Caliper
Rear Wheel
Seat
Sidecar Bar
Stand & Footrest
Steering
Steering 2
Steering Handle & Cable
Taillight
Transmission
Valve
Water Pump
Privacy Policy
Copyright | Part Seeker
Made with
U do