About Us
Find Parts
ZXR250/ZXR250R
1989 (ZX250-A1)
イグニッションシステム
イグニッションスイッチ
エアクリーナ
エンジンカバー
オーナーズツール
オイルパン
オイルポンプ
オプショナルパーツ
カウリング
カウリングロアー
カムシャフト/テンショナ
ギヤチェンジドラム/シフトフォーク
ギヤチェンジメカニズム
キャブレタ
キャブレタパーツ
クラッチ
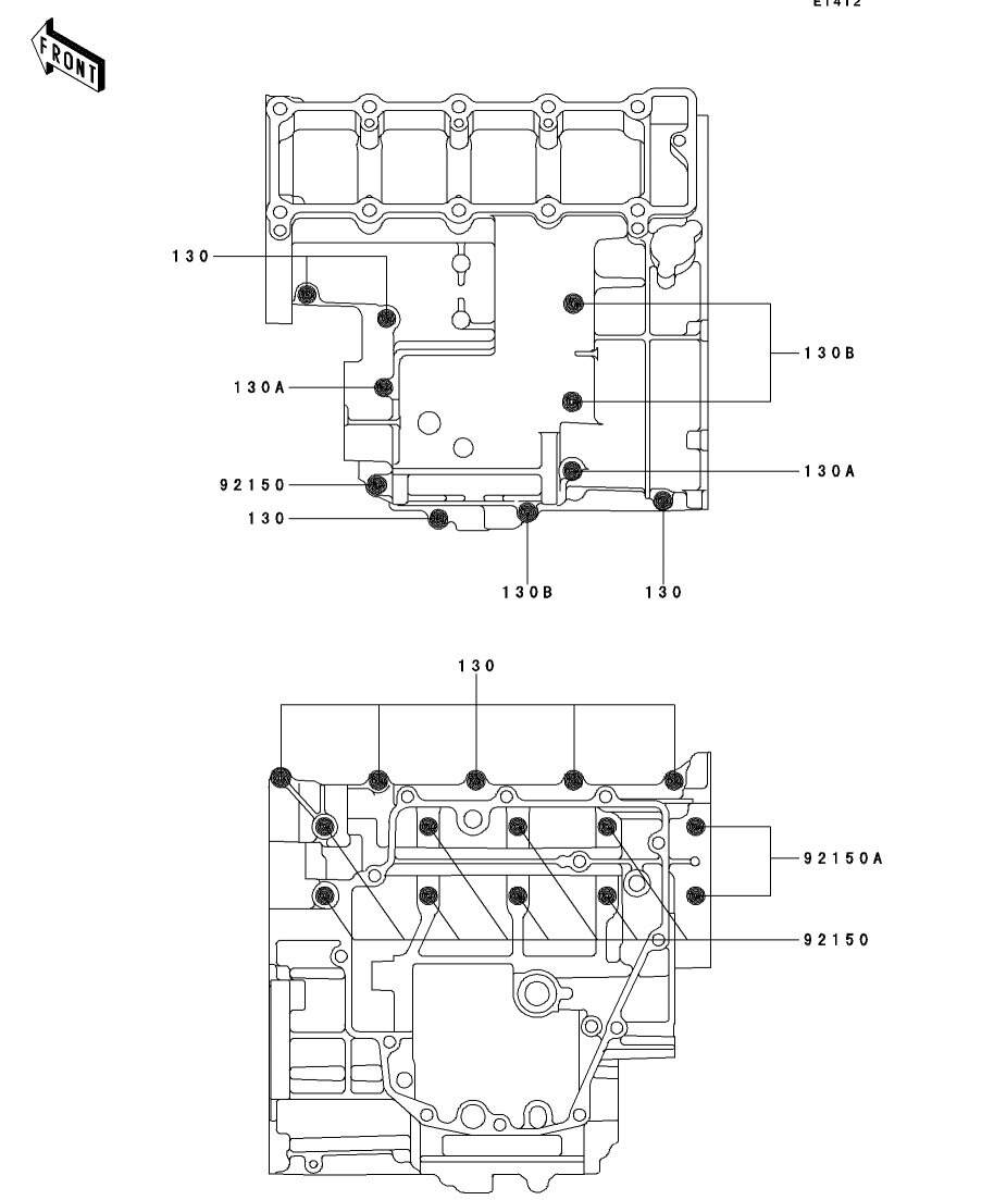
クランクケース
クランクケースボルトパターン
クランクシャフト
ケーブル
サイドカバー/チェーンカバー
サスペンション
シート
ショックアブソーバ
シリンダ/ピストン
シリンダヘッド
シリンダヘッドカバー
スイングアーム
スタータモータ
スタンド
ゼネレータ
ターンシグナル
タイヤ
テールライト
デカール(エボニ-/グレ-)
デカール(グリ-ン/ブル-/ホワイト)
デカール(レッド/エボニ-/ブロンズ)
トランスミッション(ZX250-A1)
トランスミッション(ZX250-B1)
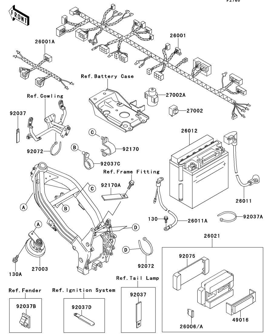
バッテリケース
バルブ
ハンドルバー
フェンダ
フットレスト
フューエルタンク
ブレーキペダル
フレーム
フレームフィッティング
フロントハブ
フロントフォーク
フロントブレーキ
フロントマスタシリンダ
ヘッドライト
マフラ
メータ
ラジエータ
ラベル
リヤハブ
リヤブレーキ
リヤマスタシリンダ
車体電装品
Privacy Policy
Copyright | Part Seeker
Made with
U do